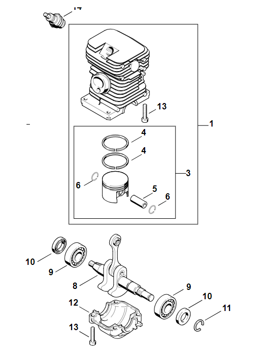
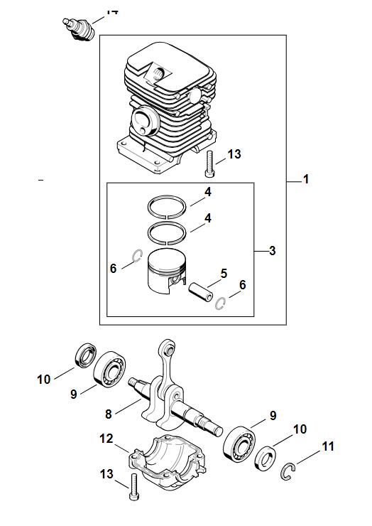
Двигатель в сборе PJ18000A — это полностью готовый к установке приводной механизм для бензопил STIHL MS 180, MS 170 и 018. Узел включает основные компоненты силовой части и позволяет быстро восстановить работоспособность инструмента без сложного ремонта отдельных элементов.
Данный двигатель используется при капитальном ремонте, сильном износе цилиндро-поршневой группы или повреждении картера. Подходит как для профессионального ремонта, так и для самостоятельной замены.
Бензопила STIHL MS 180 относится к бытовому классу с мощностью около 2 л.с., поэтому установка нового двигателя полностью возвращает заводские характеристики инструмента

На двигатель в сборе PJ18000A предоставляется гарантия на проверку и выявление заводских дефектов — 14 дней с момента получения товара.
Гарантия распространяется на:
- производственные дефекты
- скрытые неисправности, выявленные при первичной установке
Гарантия не распространяется на:
- повреждения вследствие неправильной установки или эксплуатации
- перегрев двигателя и работу без смазки
- использование некачественного топлива или масла
- механические повреждения и следы вскрытия
- естественный износ деталей
Условия гарантии:
- установка должна производиться с соблюдением технических требований
- перед установкой рекомендуется проверка специалистом
- товар не должен иметь следов эксплуатации, кроме первичной установки
В случае обнаружения дефекта необходимо обратиться к продавцу с описанием проблемы и подтверждением покупки.
Для двигателя в сборе PJ18000A доступны все основные запасные части, что обеспечивает удобство обслуживания и ремонта без необходимости полной замены узла.
К наиболее востребованным комплектующим относятся:
- цилиндро-поршневая группа (поршень, кольца, цилиндр)
- карбюратор и ремкомплекты
- стартер и его элементы
- коленчатый вал и подшипники
- сальники и прокладки
- система зажигания (катушка, свеча)
- сцепление и приводные элементы
Все комплектующие совместимы с бензопилами STIHL MS 170, MS 180 и 018, а также их аналогами.
Наличие широкого ассортимента запасных частей позволяет продлить срок службы двигателя, снизить затраты на ремонт и поддерживать стабильную работу бензопилы.
Советы по эксплуатации
- Перед началом работы внимательно ознакомьтесь с инструкцией по эксплуатации.
- Используйте только качественные фирменные масла и смазочные материалы для продления срока службы двигателя.
- Готовую топливную смесь храните не более 20 дней, чтобы избежать потери её свойств.
- Регулярно проверяйте воздушный фильтр и очищайте его при загрязнении.
- Своевременно выполняйте смазку, техническое обслуживание и проверку основных узлов согласно инструкции производителя.
Наличие и доставка
Весь ассортимент продукции FARMERTEC POWER MACHINERY доступен со склада в Алматы.
Также возможна поставка техники и запчастей под заказ.
✔ Выгодные условия для дилеров и оптовых покупателей
✔ Лучшие цены на рынке
✔ Быстрая доставка по всему Казахстану
О бренде Holzfforma
Holzfforma — это надежный и доступный бензоинструмент для дома, сада и профессиональной работы.
В наличии оригинальные запчасти, комплектующие и сервисное обслуживание.
📞 Свяжитесь с нами:
8 700 400 5400 (WhatsApp)
